Локомат, роботизированная система локомоторной терапии для нижних конечностей (Россия)
Конструкция СЛТ позволяет заниматься реабилитацией, пожилых пациентов с инсультом, так и детей с различными нарушениями опорно двигательного аппарата включая ДЦП.
Система для локомоторной терапии «СЛТ» (далее, тренажер) предназначена для осуществления комплекса лечебно-реабилитационных воздействий за счет обеспечения длительного передвижения ног пациента по движущейся ленте беговой дорожки.
СЛТ помогает пациентам с нарушением походки выполнять движения на беговой дорожке, тем самым позволяя проводить комбинированную функциональную локомоторную терапию с оценкой функционального состояния.
СЛТ основан на применении роботизированных ортезов ходьбы и системы поддержки массы тела, комбинированных с беговой дорожкой (тредмилом). Пациенты, находящиеся в инвалидном кресле, могут быть без особого труда переведены на полотно беговой дорожки и закреплены с помощью специальных фиксаторов. Управляемые компьютерным модулем сервомоторы точно синхронизированы со скоростью беговой дорожки. Они задают ногам пациента траекторию движения, которая формирует ходьбу, близкую к физиологической. Удобная связь с компьютерным модулем позволяет терапевту без особых усилий управлять СЛТ и регулировать параметры тренировки согласно потребностям каждого пациента. Автоматизирование процесса позволяет уменьшить физическую нагрузку на врачей и проводить более длительные и эффективные занятия для пациентов.
Тренажер позволяет пациенту стать на полотно беговой дорожки и почувствовать опору под ногами. Для обеспечения устойчивого положения он может держаться за брусья, которые регулируются по высоте и ширине в зависимости от роста пациента. Если пациент передвигается только на инвалидной коляске, то он может въехать на беговую дорожку по пандусу.
Скорость движения полотна беговой дорожки без системы принудительного передвижения ног может регулироваться в пределах от 0.3 до 8 км/ч.
Кроме этого во время ходьбы вес пациента может быть скомпенсирован частично или полностью за счет лебедки и тросов, а также лямочного предохранительного пояса, который надевается на корпус пациента. Величина скомпенсированного веса контролируется с помощью специального датчика, показания которого выводятся на экран компьютера методиста. Вес пациента при данном режиме не должен превышать 100кг.
Для принудительного передвижения ног пациента по беговой дорожке служит набор рычагов с упорами колен и держателями голени и стопы пациента, приводимый в движение двумя электродвигателями. Скорость перемещения рычагов синхронизована со скоростью движения полотна беговой дорожки. При работе с системой принудительного передвижения ног скорость может регулироваться в пределах от 0.3 до 3 км/ч. В этом случае имитируется ходьба пациента по движущейся ленте беговой дорожки.
Для работы на тренажере достаточно одного методиста.
Дополнительными принадлежностями системы являются набор лямочных предохранительных поясов подвески пациента и съемная скамейка для отдыха пациента.
ПОКАЗАНИЯ К ИСПОЛЬЗОВАНИЮ
Двигательные нарушения нижних конечностей вследствие:
- спинномозговой травмы,
-черепно-мозговой травмы,
- инсульта,
- детского церебрального паралича,
- заболевания нервной системы и т.п.
Возраст ребенка, как правило, должен быть не менее 6 лет.
ПРОТИВОПОКАЗАНИЯ К ИСПОЛЬЗОВАНИЮ
Острые инфекционные заболевания, злокачественные новообразования, неврологические расстройства, эпилепсия, а также:
- масса тела менее 50 кг и более 150 кг.
- рост менее 115 см и более 210 см.
- укорочение нижней конечности на 2см. и более
- гипертонус паретичных мышц (3балла и более по шкале Ашфорта)
- выраженная деформация позвоночника (сколиотическая болезнь 3-4 степени и т.д.)
- неконсолидированный перелом (любая локализация)
- остеопороз любой степени, а также остеопения в сочетании с переломами в анамнезе
- патологические переломы в анамнезе
- патология суставов нижних конечностей (артроз 3-4 степени, асептический некроз головки бедренной кости, дисплазии суставов, контрактуры суставов различного вида и др.)
- артродезы суставов нижних конечностей
- повреждения мягких тканей (пролежни и др.)
- ортостатические реакции
- венозная недостаточность нижних конечностей 2 ст. и т.д.
- рецидив хронических заболеваний
- заболевания внутренних органов в стадии обострения или декомпенсации
- когнитивные расстройства
ОПИСАНИЕ
К работе на тренажере допускаются пациенты, прошедшие подготовительный этап лечения, реабилитационными задачами которого являются:
Развитие активных движений нижних конечностей.
Развитие активных движений верхних конечностей при высоком уровне повреждения спинного мозга.
Расширение адаптационно-компенсаторных возможностей сердечно-сосудистой системы.
Формирование мышечного корсета туловища.
Улучшение двигательной координации.
Обучение следующим двигательным навыкам:
- самостоятельная вертикализация у коленного упора,
- удержанию вертикальной позиции без фиксации таза (вовлечение рук для опоры незначительное).
- перемещению общего центра тяжести.
- отдельным элементам шага (если уровень физ. подготовки позволяет).
Пациент должен свободно стоять в коленупоре, уметь переносить центр тяжести с одной ноги на другую и обладать умеренной спастикой мышц нижних конечностей.
При проведении занятий на тренажере необходимо учитывать общее состояние пациента и степень нарушений двигательной активности ног. Во время тренировки нагрузку следует увеличивать постепенно.
Первое занятие должно выполняться в медленном темпе (0,48-0,60 км/ч) с целью: оценить правильность выполняемых пациентом действий и их незамедлительной коррекции, определить толерантность к физической нагрузке (контроль показателей ЧСС и АД до занятия, во время и после). Если же все рекомендации инструктора-методиста выполняются с трудом или не корректно, тогда в этом темпе следует работать до закрепления навыка.
Курс занятий на тренажере, как правило, составляет 4 недели при условии, что занятия проводятся 5 раз в неделю.
Пациент при этом, как правило, должен быть одет в легкий спортивный костюм. На ногах спортивная обувь.
Проводить занятия в шортах и шлепках не рекомендуется.
Ноги пациента необходимо осматривать до и после каждого занятия на предмет повреждений кожи и появления отеков.
В зависимости от состояния двигательной активности пациента тренажер может использоваться в различный режимах.
Режим А – почти норма: движение, способное преодолеть небольшую нагрузку, мышцы преодолевают небольшое внешнее противодействие.
Режим B - незначительное нарушение: слабое движение, способное преодолеть только силу тяжести, есть активное движение в обычном положении.
Режим С – частичное повреждение: движение очень слабое, неспособное преодолеть силу тяжести, есть активное движение при условии разгрузки.
Режим D – полное повреждение: признаки движения полностью отсутствуют.
Классификация режимов использования тренажера носит рекомендательный характер.
Методист, в зависимости от общего состояния и диагноза пациента, опираясь на свой опыт работы, может по своему усмотрению изменять режим работы тренажера.
Кроме этого занятия на данном тренажере не исключают использования устоявшихся методик работы с пациентами с нарушением опорно-двигательного аппарата.
В частности выполнение упражнений в коленоупорах, брусьях, специальных тренажерах, выполнение упражнений на укрепление мышечного корсета, использование функциональной электростимуляции мышц ног, эпидуральной стимуляции спинного мозга и других апробированных лечебных процедур.
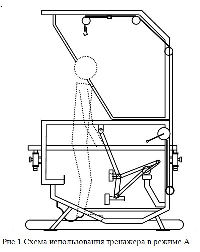
Работа тренажера в режиме А
(движение в ногах почти норма)
При режиме А компенсация веса тела и система принудительного передвижения ног пациента не используются. Лямочный предохранительный пояс убирается. Рычаги принудительного передвижения ног отводятся вперед и закрепляются на специальных держателях. Схема использования тренажера показана на рис.1.
Пациент заходит на беговую дорожку и, держась за поручни, занимает устойчивое вертикальное положение. На экране компьютера методист устанавливает режим «только дорожка», с помощью указателя «скорость» задает скорость движения полотна беговой дорожки в пределах от 0.4 до 5.0 км/ч и нажимает кнопку «пуск». Для остановки нажимает кнопку «стоп».
Длительность одного подхода обычно равна от 3 до 5 минут. Всего выполняется 1, 2 или 3 подхода. Между подходами методист устанавливает съемное сидение для отдыха пациента между подходами.
В ходе тренировки контролируется правильность походки, уровень усилий пациента и общее его состояние.
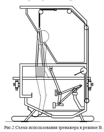
Работа тренажера в режиме В
(незначительное нарушение движения в ногах)
При режиме В используется компенсация веса тела. Система принудительного передвижения ног пациента не используются. Рычаги принудительного передвижения ног отводятся вперед и закрепляются на специальных держателях. Лямочный предохранительный пояс надевается на пациента.
Схема использования тренажера показана на рис.2.
Пациент заходит на беговую дорожку, верхние лямки страховочного пояса крепятся за держатели строп. С помощью лебедки пациент приподнимается над беговой дорожкой. Величина скомпенсированного веса контролируется по указателю на экране компьютера. Обычно величина скомпенсированного веса лежит в пределах от 0 до 40% от веса пациента. В этом режиме лямочный предохранительный пояс можно использовать просто в качестве страховки при выполнении шаговых движений по движущейся лене беговой дорожки.
В дальнейшем работа в этом режиме аналогична режиму А.
Работа тренажера в режиме С
(частичное повреждение)
При режиме С используется компенсация веса тела и система принудительного передвижения ног пациента в объеме только оказания помощи для «замыкания» колена. Лямочный предохранительный пояс надевается на пациента. Рычаги принудительного передвижения ног устанавливаются в рабочее положение. При этом держатели голени отводятся в крайнее переднее положение. Схема использования тренажера показана на рис.3.
Пациент заходит или заезжает на инвалидной коляске на беговую дорожку. Верхние лямки страховочного пояса крепятся за держатели строп. С помощью лебедки или за счет силы рук пациент занимает вертикальное положение над беговой дорожкой. На компьютере задается скорость движения, допустимый уровень спастики, величина шага, устанавливается величина скомпенсированного веса и время тренировки. Включается режим «обе ноги». С помощью кнопок «правая», «левая» малые рычаги устанавливаются вертикально.
Для начала движения нажимается кнопка «пуск», для остановки «закончить сеанс». Для срочной остановки нажимается кнопка «стоп».
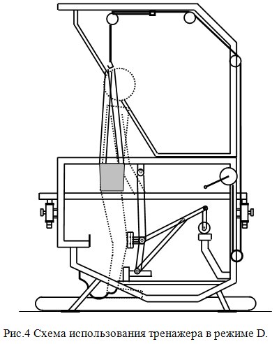
Работа тренажера в режиме D
(полное повреждение)
При режиме D используется компенсация веса тела и система принудительного передвижения ног пациента в полном объеме. Лямочный предохранительный пояс подбирается по телосложению пациента и надевается на него. Рычаги принудительного передвижения ног устанавливаются в рабочее положение. Схема использования тренажера показана на рис.4.
Пациент заезжает на инвалидной коляске на беговую дорожку. Верхние лямки страховочного пояса крепятся за держатели строп. С помощью лебедки или за счет силы рук пациент занимает вертикальное положение над беговой дорожкой. На компьютере задается скорость движения, допустимый уровень спастики, величина шага, устанавливается величина скомпенсированного веса и время тренировки. Включается режим «обе ноги». С помощью кнопок «правая», «левая» малые рычаги двигателя устанавливаются вертикально.
Для начала движения нажимается кнопка «пуск», для остановки «закончить сеанс». Для срочной остановки нажимается кнопка «стоп».
В ходе тренировки на экран компьютера выводится информация об усилиях, которые прикладываются к рычагам принудительного передвижения ног. Чем меньше принимает участие в ходьбе сам пациент, тем больше прикладывается усилий к рычагам тренажера, тем больше результирующая кривая на экране компьютера отклоняется от нулевой линии. Задача пациента во время ходьбы состоит в том, чтобы добиваться минимального отклонения результирующих кривых правой и левой ноги от нулевой линии. В ходе тренировки фиксируется скорость и пройденный путь.
Тренажер перенастраивается в зависимости от роста и габаритов пациента. Порядок перенастройки изложен в руководстве по эксплуатации Системы для локомоторной терапии СЛТ.
Если пациент во время шаговых движений излишне накланяется вперед или назад, тренажер позволяет изменить угол прикладываемых компенсаторных усилий массы тела пациента. Схема допустимых углов прикладываемых компенсаторных усилий показана на рис. 5.
Крепежный верхний ролик может сдвигаться вперед на 435мм или назад на 340мм.
Во время шаговых движений корпус пациента остается свободным, и он может легко переносить центр тяжести с одной ноги на другую.
Однако если во время ходьбы пациент не может удержать таз в нормальном положении и его «уводит» в какую-нибудь сторону, то в этом случае методист может принудительно изменить положение таза. Для этого на тренажере предусмотрены четыре держателя по два спереди и сзади, а на страховочном поясе вшиты специальные «ушки». С помощью цепочек и карабинов методист может придать тазу пациента требуемое положение во время ходьбы.
Если нижние конечности пациента излишне свободно располагаются в коленоупорах и держателях голени, то в этом случае методист может использовать дополнительные поролоновые вкладыши, которые входят в комплект тренажера.
Если у пациента нарушена ходьба только одной ноги, то на тренажере осуществляются принудительные шаговые движения только одной ноги. В этом случае незадействованные рычаги здоровой ноги отводятся максимально вперед и закрепляются за станину тренажера. В ходе тренировки на экране компьютера устанавливаются режимы «только левая» или «только правая». В остальном действия методиста аналогичны предыдущему режиму.
В этом режиме можно использовать еще один способ компенсации веса. На пациента лямочный предохранительный пояс не надевается, а вместо него подмышками продеваются матерчатые кольца, которые крепятся к карабинам компенсатора веса. В этом случае грудная клетка пациента не стягивается и дыхание не нарушается. В дальнейшем работа аналогична.
В штатном режиме ноги пациента крепятся в коленоупорах и упорах голени специальными ремнями на «липучках». С помощью лебедки масса пациента полностью компенсируется, и его ноги отрываются от полотна беговой дорожки. После этого делается два-три контрольных шаговых движения и проверяется натяжение крепежных ремней, отсутствие заломов спортивного костюма и провисания стопы. Если осмотр дал положительный результат, то пациент опускается и методист приступает к началу занятий на тренажере.
РЕКОМЕНДАЦИИ ВРАЧА
Врач-реабилитолог после осмотра пациента, уточнения уровня поражения опорно-двигательного аппарата и определения возможности по его реабилитации, предписывает:
- режим работы тренажера,
- величину компенсируемой массы тела,
- скорость шаговых движений,
- время тренировки в каждом подходе,
- количество подходов,
- общее количество занятий,
- занятия проводятся каждый день или через день.
Как правило, в ходе занятий рекомендуется постепенно снижать величину компенсируемой массы тела пациента и увеличивать скорость шаговых движений.
ВОЗМОЖНЫЕ ОСЛОЖНЕНИЯ И СПОСОБЫ ИХ УСТРАНЕНИЯ
1. Нарастание мышечного тонуса в ходе тренировок.
Одной из проблем может быть натирание или сдавление лямками корсета, или фиксаторами нижних конечностей подлежащих мягких тканей.
Для устранения необходимо проверить: подлежащие ткани на предмет травматизма, расположение поролоновых вкладышей, отрегулировать натяжение липучек в проекции голеностопных, коленных суставов, натяжение лямок корсета.
2. Повреждение кожных покровов нижних конечностей после работы на тренажере.
Занятия прекращают до заживления кожной раны.
3. Ортостатические реакции.
Перевести пациента в положение сидя (если облегчения в состоянии нет – положить пациента на дорожку), вызвать врача, оказать первую помощь.
4. Если аппарат аварийно остановился, а приводы ног при этом расположились в промежуточных положениях (в режимах C и D).
В этом случае необходимо с помощью лебедки полностью разгрузить пациента, а затем с помощью детальных параметров вернуть приводы в исходное – предстартовое положение, затем проанализировать причину остановки
(спастика или произвольное активное сопротивление приводам аппарата и т.д.). После устранения причины занятия можно продолжить.
Имеет ряд принципиальных отличий от широко известных импортных локомоторных аналогов, а именно
1. Исходное положение.
При использовании известных импортных локомоторных аналогов тренировка начинается и заканчивается из положения виса пациента. Это очень неудобно. Нарушается дыхание, мышцы ног не подготавливаются к шаговым движениям. Тренировка должна начинаться из положения стоя. В этом случае ноги опосредованно чувствуют опору, пациент может перенести центр тяжести с ноги на ногу, т.е. подготовиться к шаговым движениям. При использовании СЛТ пациент начинает и заканчивает тренировку из положения «стоя»
2. Зоны приложения сил.
Во время ходьбы вспомогательные усилия на ноги должны прикладываться к коленям и голеностопным суставам. В известных импортных локомоторных аналогах усилия прикладываются в середине тазобедренного и голеностопного суставов , что не способствует правильным шаговым движениям. СЛТ усилия прикладываются к коленям и голеностопным суставам
3. Возможность кратковременного отдыха.
После шагового движения в течение 5-6 минут пациент устает, хочется на 3-4 минуты сделать перерыв и потом продолжить занятия. Такой возможности в известных импортных локомоторных аналогах не предоставляется. При использовании СЛТ кратковременный отдых вполне возможен и не требует больших усилий. Для этого просто уменьшается натяжение фала компенсатора веса, приставляется съемное сидение и пациент садится на него. Это чрезвычайно важно особенно в начальный период работе на таких тренажерах.
4. Возможность самостоятельной вертикализации.
Большинство пациентов со спинномозговой травмой и параплегией нижних конечностей после непродолжительных занятий на топчане или типовых тренажерах начинают самостоятельно принимать вертикальное положение за счет усилий рук и дополнительных коленоупоров. Это самое первое движение, которое они осваивают. Надо сначала научиться стоять, а потом учиться ходить. Принудительная вертикализация возможна только с помощью лебедки В СЛТ в начальный момент коленоупоры закреплены неподвижно, и пациент легко может занять вертикальное положение, за счет силы рук, опираясь ногами в коленоупоры
5. Возможность шаговых движений одной ногой.
В начальный период реабилитации пациент старается вспомнить движение ног при ходьбе. Это не всегда получается, т.к. после операции и ликвидации всех воспалительных процессов зачастую проходит несколько месяцев. В этом случае целесообразно вспомнить движение сначала одной ногой, а потом переходить к восстановлению шага двумя ногами. При использовании СЛТ появляется возможность шаговых движений только правой или только левой ногой. Для этого закрепляется специальная площадка под неподвижную ногу и включается привод только одной ноги
6. Возможность шага с оказанием помощи только при замыкании колена.
В ходе локомоторной терапии зачастую создается ситуация, при которой необходимо только помочь замкнуть колено. В СЛТ предусмотрен режим оказания помощи только при замыкании колена. При рекомендации лечащего врача такой режим легко обеспечить
7. Фиксация таза. В известных импортных локомоторных аналогах система принудительного передвижения ног построена таким образом, что во время шаговых движений происходит жесткая фиксация таза. Это не позволяет при ходьбе переносит вес тела с одной ноги на другую. Следовательно, не повторяется естественного движения при ходьбе При использовании СЛТ таз не зафиксирован, и при ходьбе можно легко переносить вес с ноги на ногу, что повторяет естественное движение при шаге
|
Бренд
|
Noname |
|
Технические характеристики1
|
<h3>Технические характеристики:</h3><BR>-станина с регулируемыми по высоте и ширине брусьями и регулируемым верхним держателем, ширина брусьев регулируется в пределах от 360 до 555 мм, высота – от 860 до 1150 мм <BR>-лебедка для облегчения вертикализации корпуса<BR>-три предохранительных пояса под пациентов с различным телосложением <BR>-система компенсации части массы тела пациента до 100кг<BR>-электрическая беговая дорожка со скоростью движения ленты от 0 до 5 км/ч с приращением скорости 0.10 км/ч<BR>-пандус для въезда на беговую дорожку с ручками для переноса пандуса<BR>-съемная скамейка для отдыха между подходами пациента<BR>-электромеханическая система приводов тазобедренного и голеностопного суставов пациентов ростом от 120 до 200 см и весом от 40 до 120 кг с возможностью принудительного передвижения только тазобедренных суставов или шаговых движений одной ногой<BR>-набор ремней для крепления ног<BR>-система управления от ноутбука электромеханической системы приводов<BR>-система экстренной остановки при появлении спастики мышц ног пациента <BR>-рабочее место с ОС Windows.<BR>-размеры (см.): длина – 280, ширина -140, высота -240<BR>-масса комплекса 300кг<BR>-электропитание – 2 евророзетки 22В, 50 Гц, 5А.<BR><BR>Регистрационное удостоверение № ФСР 2011/12477 от 08.12.2011г.<BR>Декларация о соответствии РОСС RU.UM02.ДО1108 от 24.04.2015г. |
Оформить заказ на нашем сайте легко. Просто добавьте выбранные товары в корзину, а затем перейдите на страницу Корзина, проверьте правильность заказанных позиций и нажмите кнопку «Оформить заказ» или «Быстрый заказ».
Функция «Быстрый заказ» позволяет покупателю не проходить всю процедуру оформления заказа самостоятельно. Вы заполняете форму, и через короткое время вам перезвонит менеджер магазина. Он уточнит все условия заказа, ответит на вопросы, касающиеся качества товара, его особенностей. А также подскажет о вариантах оплаты и доставки.
По результатам звонка, пользователь либо, получив уточнения, самостоятельно оформляет заказ, укомплектовав его необходимыми позициями, либо соглашается на оформление в том виде, в котором есть сейчас. Получает подтверждение на почту или на мобильный телефон и ждёт доставки.
Выберите из списка название вашего региона и населённого пункта. Если вы не нашли свой населённый пункт в списке, выберите значение «Другое местоположение» и впишите название своего населённого пункта в графу «Город». Введите правильный индекс.
В зависимости от места жительства вам предложат варианты доставки. Выберите любой удобный способ.
Оплата
Выберите оптимальный способ оплаты.
Введите данные о себе: ФИО, адрес доставки, номер телефона. В поле «Комментарии к заказу» введите сведения, которые могут пригодиться курьеру, например: подъезды в доме считаются справа налево.
Проверьте правильность ввода информации: позиции заказа, выбор местоположения, данные о покупателе. Нажмите кнопку «Оформить заказ».
Наш сервис запоминает данные о пользователе, информацию о заказе и в следующий раз предложит вам повторить к вводу данные предыдущего заказа. Если условия вам не подходят, выбирайте другие варианты.
Вы можете выбрать один из трёх вариантов оплаты:
При выборе варианта оплаты наличными, вы дожидаетесь приезда курьера и передаёте ему сумму за товар в рублях. Курьер предоставляет товар, который можно осмотреть на предмет повреждений, соответствие указанным условиям. Покупатель подписывает товаросопроводительные документы, вносит денежные средства и получает чек.
Также оплата наличными доступна при самовывозе из магазина, оплаты по почте или использовании постамата.
При оформлении заказа в корзине вы можете выбрать вариант безналичной оплаты. Мы принимаем карты Visa и Master Card. Чтобы оплатить покупку, вас перенаправит на сервер системы ASSIST, где вы должны ввести номер карты, срок действия, имя держателя.
Вам могут отказать от авторизации в случае:
- если ваш банк не поддерживает технологию 3D-Secure;
- на карте недостаточно средств для покупки;
- банк не поддерживает услугу платежей в интернете;
- истекло время ожидания ввода данных;
- в данных была допущена ошибка.
В этом случае вы можете повторить авторизацию через 20 минут, воспользоваться другой картой или обратиться в свой банк для решения вопроса.
Безналичным расчётом можно воспользоваться при курьерской доставке, использовании постамата или самовывоза из магазина.
Для оплаты вы можете воспользоваться одной из электронных платёжных систем:
- PayPal;
- WebMoney;
- Яндекс.Деньги.
Вас перенаправит на страницу платежного сервиса, следуя инструкциям, заполните правильную форму.
Наш интернет-магазин предлагает несколько вариантов доставки:
- курьерская;
- самовывоз из магазина;
- постаматы;
- почта России.
Вы можете заказать доставку товара с помощью курьера, который прибудет по указанному адресу в будние дни и субботу с 9.00 до 19.00. Курьерская служба, после поступления товара на склад, свяжется с вами и предложит выбрать удобное время доставки. Уточнит адрес.
Вы вскрываете упаковку при курьере, осматриваете на целостность и соответствие указанной комплектации. Если речь идёт об одежде, допустима примерка. Время осмотра и примерки ограничено 15 минутами. После вы можете отказаться частично или полностью от покупки.
Доставка бесплатна при заказе от 3000 рублей.
*Действует ли в вашем городе курьерская служба, уточняйте у менеджера магазина.
Вы можете забрать товар в одном из магазинов, сотрудничающих с нами. Список торговых точек, которые принимают заказы от нашей компании появится у вас в корзине. Когда заказ поступит в ваш город, вам придёт уведомление. Вы просто идёте в этот магазин, обращаетесь к сотруднику в кассовой зоне и называете номер заказа. Забрать покупку может ваш друг или родственник, который знает номер и имя, на кого он оформлен.
Постамат – это терминал с автоматизированной системой для хранения заказанных товаров. Удобство в том, что человек может забрать заказ в любое удобное время.
- в момент оформления заказа на сайте, вы выбираете удобный для себя постамат, если такая система работает в вашем городе;
- на ваш телефон или e-mail придет уникальный код, это значит, что товар доставлен в постамат;
- вы приходите к постамату, вводите полученный код и следует инструкциям автомата;
- оплачиваете заказ в терминале постамата;
- забираете товар.
Срок хранения в постамате 3 дня, но можно продлить ещё на аналогичный срок. Чтобы уточнить информацию и продлить время хранения зайдите на сайт нашего партнера, введите номер заказа и телефон и следуйте подсказкам на сайте.
Если в вашем городе не действует курьерская служба и постаматы, то вы можете заказать доставку через почту России. Сразу по прибытии товара, на ваш адрес придет извещение о посылке.
Перед оплатой вы можете оценить состояние коробки (не вскрывая): вес, целостность. Если вам кажется, что заказ не соответствует параметрам или коробка повреждена, попросите сотрудника почты составить акт о вскрытии. Вскрывать коробку самостоятельно вы можете только после того, как оплатили заказ.
Один заказ может содержать не больше 10 позиций и его стоимость не должна превышать 100 тысяч рублей.













